Экологические группировки современных акул

Деление животных на экологические единицы — дело сложное и далеко не всегда благодарное. Для рыб еще в середине века отечественными учеными было разработано деление на экологические группы в зависимости от особенностей нереста и онтогенеза. Пожалуй, это положение стало самым консервативным в ихтиологии, хотя принципы, заложенные в его основу, несут очень большую биологическую нагрузку. Акулообразных следует разделить на три группы — яйцекладущих, яйцеживородящих и живородящих, тогда как две последние группы крайне сложны в экологическом плане, да и все столь крупное деление пи в коей мере не отражает всего экологического разнообразия ныне живущих акул и скатов.

В связи с изложенным мы неоднократно пытались предложить свое деление акул на экологические единицы, которые, дабы не вызывать терминологической путаницы и нареканий со стороны адептов «икряного» деления, называем группировками. За основу при делении акул на те или иные группировки взяты их некоторые филогенетические связи, так как без анализа эволюционных преобразований трудно отнести ныне живущие виды к какой-то группе. Критериями деления стали: местообитание того или иного вида, особенности питания, размножения и некоторые другие признаки. Всего можно выделить 10 экологических группировок современных акул; внутри некоторых сложных группировок целесообразно рассмотреть несколько подгрупп, чаще всего крайне хорошо обособленных экологически. В целом каждой группировке, точнее ее представителям, свойственны определенные особенности строения головного мозга и органов чувств, коррелированные с экологией — местообитанием и способом поиска добычи.

Ниже приводятся краткие характеристики экологических группировок акул, которые позволяют более точно определить место акул в экосистемах океана и пресных вод.

Эпипелагическая группировка (Эп). В нее входят наиболее крупные из ныне живущих акул, обитающие в открытой части океана, за пределами шельфовых вод, на глубинах в основном до 300 м. Группировка состоит из двух четко разграниченных подгрупп: планктофагов (Эп1) и хищников (Эп2). Представители первой подгруппы (китовая, гигантская, большеротая акулы) питаются мезо- и макропланктоном, процеживая океанскую воду и отбирая кормовые организмы посредством «ловчей сети», образованной видоизменившимися в процессе эволюции тычинками. Два первых представителя — обитатели собственно эпипелагиали, большеротая акула живет в нижнем слое эпи- и верхнем — мезопелагиали, на глубинах 150–400 м.

Хищные акулы — океанические виды, редко подходящие к берегам (кроме большой белой), отличные пловцы, которые питаются массовыми океаническими рыбами. Наиболее типичные представители подгруппы — акулы мако, голубая, сельдевые и лисьи акулы. Виды, входящие в группировку, относятся к яйцеживородящим и живородящим акулам.

Неритическая группировка (Н). Объединяет акул средних размеров, обычно длиной 0,7–3,0 м, обитающих в толще воды вблизи берегов материков, островов и около подводных поднятий в пределах неритической зоны (т. е. над шельфом, или глубинами до 300 м от поверхности). Пищу этих акул составляют стайные костистые рыбы, мелкие акулообразные и другие обитатели прибрежных вод, преимущественно пелагические. Основой группы являются высокоорганизованные представители отряда кархаринообразных акул. Все виды яйцеживородящие или живородящие.

Акул этой группировки можно назвать еще и литорально-пелагическими, так как они могут выходить в открытый океан, проникая в эпипелагическую группировку (в отдельных районах — некоторые серые акулы), заходить в эстуарии рек и подниматься против течения (с образованием пресноводных популяций).

Пресноводная группировка (П). Чаще всего временная и лишь в крупных водоемах постоянная группировка акул, по всей видимости, дочерняя предыдущей. Экологически ее представители крайне близки к акулам неритической группировки.

Для трех приведенных выше группировок характерна типично «акулья» форма тела с мощными плавниками и отличными гидродинамическими качествами. Практически все они имеют хорошо развитые органы чувств с умеренной гипертрофией некоторых из них; функционально все анализаторы у этих акул развиты хорошо. Группировки включают, за редким исключением (один вид многожаберных акул близок к неритическим акулам), высокоорганизованных акул отрядов лампообразных и кархаринообразных.

Древняя придонная группировка (ДПр). Объединяет несколько видов древнего семейства Hexanchidae, входящих в состав прибрежного ихтиоцена и обитающих у дна в шельфовых водах и реже чуть глубже (до 350–450 м). Основу питания составляют рыбы и беспозвоночные демерсальной зоны и животные бентоса. Яйцеживородящие виды.

Молодая придонная группировка (Пр). Довольно многочисленная группировка акул небольшого и среднего размеров (до 1,8 м), представители которой обитают в пределах шельфовых вод в придонном слое воды (в 20-метровой толще от дна). Типичные бентофаги со своеобразным строением ротового аппарата, зубов и гипертрофированными органами обоняния. Основу питания составляют донные ракообразные, реже рыбы и головоногие. В основном подгруппа представлена представителями семейства куньих акул. Все виды яйцеживородящие.

Древняя донная группировка (ДД). Своеобразная группа бентических акул, большую часть времени лежащих на дне, объединяющая реликтовых животных из отряда разнозубообразных. Характеризуются своеобразным строением ротового аппарата, приспособленного к поеданию донных беспозвоночных с прочным наружным скелетом. Хорошо развиты тактильная чувствительность и обоняние. Все виды яйцекладущие.

Молодая донная группировка (Д). Пожалуй, это наиболее многочисленная как по числу видов, так и по численности группа мелких акул, обитающих на дне, преимущественно в пределах шельфа. Как мы уже знаем, с ростом глубины обитания донные акулы отрываются от дна и «становятся» придонно-пелагическими видами с рядом переходных форм. Многие виды имеют тело, сжатое в дорсо-вентральном направлении и широкие грудные плавники; все они — плохие пловцы. Типичные бентофаги. По способу поиска пищи и, следовательно, по развитию тех или иных органов чувств и другим особенностям биологии группировку следует разделить на 3 подгруппы:

кошачьи акулы1) — виды семейства Scyliorhinidae, характеризующиеся гипертрофией органов обоняния и обонятельных структур головного мозга; все виды яйцекладущие;

ковровые акулы2) — все виды подотряда коврововидных, руководствующиеся в своей жизни различными органами чувств, без заметной гипертрофии какого-либо из них, но у большинства видов доминирует тактильная чувствительность; яйцекладущие и яйцеживородящие виды;

морские ангелы и пилоносы3) — своеобразные донные акулы со скатообразной формой тела и комплексным (равномерным) развитием органов чувств; изученные виды яйцеживородящие.

Древняя глубоководная группировка (ДГл). Крайне малочисленная группировка реликтовых древних акул, обитающих на дне больших глубин (свыше 450 м). Из ныне живущих акул представлена, очевидно, только плащеносной акулой; к этой группировке, или к формам, переходным от нее к древней придонной группировке, в отдельных случаях можно отнести реликтов семейства Hexanchidae и, возможно, акулу-домового, представителя отряда лампообразных акул. Типичные бентофаги. Плащеносная акула — яйцекладущая, остальные — яйцеживородящие.

Молодая глубоководная группировка (Гл). Представители данной группировки относятся в основном к катранообразным (пряморотые и ряд видов колючих акул). Обитают в толще воды, редко вблизи дна, на глубинах более 300 м (обычно 450—1200 м). Для большинства видов характерны суточные вертикальные миграции и способность к свечению (есть фотофоры или люминесцирующие участки тела). Основу питания составляют глубоководные и интерзональные стайные костистые рыбы и беспозвоночные. Все виды яйцеживородящие.

Придонно-пелагическая группировка (ПП). Объединяет большое число видов колючих акул (прежде всего представителей родов Squalus, Atractophorus, Controphorus и др.), некоторых пряморотых и кошачьих акул. Представители группировки обитают постоянно в толще воды на расстоянии 10–30 м от дна больших глубин (за пределами шельфа). Основу питания составляют организмы придонного слоя с «примесью» животных бентоса (15–30 %) и обитателей океанской толщи больших глубин (до 15 %). Все представители группировки — яйцеживородящие; этот критерий может служить четким различием между донными и придонно-пелагическими кошачьими акулами. Данная группировка отличается наличием видов, постоянно или временно (в конкретных районах или сезонах) занимающих промежуточное положение между придонно-пелагическим и глубоководным или донным образом жизни.

Для глубоководных и придонно-пелагических акул (кроме полярных) характерно равномерное развитие всех органов чувств с явным доминированием системы органов чувств боковой линии.

Итак, мы видим, что всех ныне живущих акул можно разделить на 10 экологических группировок с более или менее четкими границами. Жесткость закрепления последних явно коррелирована с историческим возрастом представителей группировок (например, древние донные акулы) или их узкой специализацией к местообитанию и питанию (молодые донные акулы).

Оригинальные и литературные исследования морфоэкологических особенностей головного мозга акул и их изменений в онто- и филогенезе позволили разработать характеристики морфологии этого важного органа селахий (табл. 7).

Имеющиеся данные позволяют рассмотреть эволюцию и распределение акул разных экологических группировок в океане (рис. 17). Не следует забывать, что в процессе их адаптации к условиям различных зон океана эволюционировали и их органы чувств и, как мы уже знаем, головной мозг, в частности отделы мозга, которые «отвечают» за работу тех или иных анализаторов.

Таблица 7. Некоторые характеристики головного мозга современных экологических группировок акул

Группировка, подгруппа Тип мозга * Индекс переднего мозга, % Отношение индекса переднего мозга к индексу продолговатого мозга Отношение индекса обонятельных луковиц к индексу зрительных долей Наличие борозд на теле мозжечка Примечание Эпипелагическая I Более 30 1,2–2,0 0,6–0,85 Есть Прогрессивные Неритическая: — серые акулы I, III Около 40 1,5–2,0 0,8–0,9 То же — молотоголовые III 45—55 2,5–3,0 1,5–1,8 Пресноводная I Около 40 Около 1,6 0,8 Древняя придонная I Около 20 0,3 0,7 Нет Реликты Молодая придонная II 28-35 1,3–1,6 1,3–2,2 Есть Прогрессивные Древняя донная I Около 25 Около 1 0,8 Нет Реликты Молодая донная — кошачьи II Около 25 Около 1 1,2–2,5 Специализированные — ковровые I 25-38 1,2–1,5 Около 0,5 Есть То же — морские ангелы ипилоносы I 25-30 Около 1 ? Есть и нет Древняя глубоководная I Менее 20 0,55 0,85 Нет Реликт Молодая глубоководная I Около 20 Около 0,5 0,3–0,8 Молодая группа Придонно-пелагическая I, III 20-30 0,6–1,1 (0,3) ** 0,3–1,0 (3,0) ** То же

* Описание типов см. в тексте; ** Относится к полярным акулам рода Somnlosus.

Рис. 17. Схема распределения экологических группировок акул в океане

1 — границы распределения группировок; 2 — пути миграций акул. Сокращения здесь и далее см. в тексте

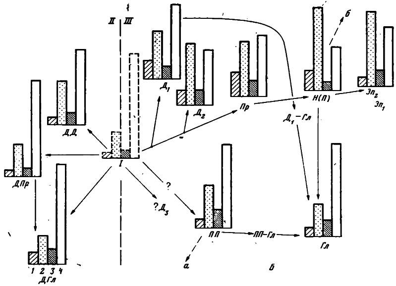
Указанная схема расселения современных акул разных экологических групп хорошо согласуется с общими схемами расселения рыбообразных и рыб в океане (см., например, схемы Н. В. Парина в цитированной книге) и с гипотетической эволюцией ротового аппарата и питания акулообразных, предложенной С. А. Моссом (см. гл. 4). Они коррелируют и с полученными нами материалами по эволюции головного мозга ныне живущих акул, в частности, с закономерными изменениями соотношения отделов головного мозга, в свою очередь коррелированных с изменением роли органов чувств в поведении (в частности, при поиске пищи) акул (рис. 18).

Из данных по строению головного мозга, наблюдений за экологией разных акул и исследований (в том числе и экспериментальных) их анализаторов можно заключить, что соотношение отделов мозга селахий, с учетом прогрессивной теленцефализации, в достаточном приближении может отражать и относительную ценность отдельных анализаторов у разных группировок акул. Исследования по экологии и соотношению (индексам, вычисленным в процентах от общей массы головного мозга) отделов головного мозга (для 60 современных и 2 вымерших видов) полностью подтверждают правомерность проведенной нами реконструкции. Последняя, в свою очередь, наглядно иллюстрирует процесс завоевания ныне живущими акулами разных экологических ниш и экосистем океана, где они играют одну из главных ролей, являясь консументами высшего порядка.

Рис. 18. Предполагаемые пути расселения акул разных экологических группировок в океане (А) и «сопутствующая» ему эволюция их головного мозга (Б)

I — исходные формы; II — реликтовые группы; III — прогрессивные группы; индексы отделов головного мозга: 1 — обонятельные луковицы; 2 — передний мозг; 3 — зрительные доли; 4 — продолговатый мозг; а — уклонившиеся от основной «ветви» полярные акулы; б — то же, тигровая акула

Более 800 000 книг и аудиокниг! 📚

Получи 2 месяца Литрес Подписки в подарок и наслаждайся неограниченным чтением

ПОЛУЧИТЬ ПОДАРОК