З.Орбитальные отходы

Отходы орбитальной ракетно-космической деятельности (Орбитальные отходы) как экскреты — это потерявшие работоспособность летательные аппараты ракетно-космической техники и их фрагменты, которые могут быть повторно использованы в качестве сырья. На современном уровне развития ракетно-космической техники демонтаж и повторное использование летательных аппаратов с выработанным ресурсом или повреждённых на орбите является проблематичным. Однако это не значит, что такая деятельность не будет реализована в обозримом будущем.

Летательными аппаратами ракетно-космической техники (РКТ) по определению являются средства выведения и пилотирования такой техники:

— ракеты-носители (PH);

— разгонные блоки (РБ);

— космические аппараты (КА);

— орбитальные станции.

Важно отметить, что перечисленные выше экскретные объекты должны находиться в ОКП в процессе выведения или в установившемся полёте. Отходы РКТ, возникающие при других ситуациях или в других местах, не могут рассматриваться орбитальными.

В процессе своего существования орбитальные отходы могут трансформироваться в другие экскреты, продолжая находиться в ОКП или переходя в другие природные среды планеты (приобретать статус мусора, утрат, потерь или находок).

Приведём другое определение отходов орбитальной ракетно-космической деятельности. Орбитальные отходы — это объекты в области активной ракетно-космической деятельности (200 км < Н < HGEO), потерявшие работоспособность, но имеющие ценные узлы, агрегаты или металлоконструкции, которые могут быть использованы или утилизированы. Эти объекты, как правило, представляют опасность действующим летательным аппаратам. Их в просторечии ошибочно называют «космическим мусором», хотя они к Космосу не имеют ни какого отношения, а мусором могут стать только будучи перемещёнными в нижний атмосферный слой или на свалку орбитального мусора (за орбиту HGeo +200 км).

Красиво, не правда ли? Десятки тысяч объектов: действующих спутников, их разрушенных фрагментов, деталей ракет и обломков измерительной техники, не считая метеозондов, кружатся на орбитах Земли. Такое феерическое зрелище проявилось бы, если на каждый орбитальный объект поставить фонарик.

Конечно же демонтаж и повторное использование таких объектов в настоящее время ещё не практикуется, а находится в стадии исследования и опытных разработок. Вывоз и утилизация космических отходов — весьма дорогостоящая и трудоёмкая операция, тем не менее уже сегодня этот бизнес может быть рентабельным. Об этом говорит интерес разработчиков космической техники к использованию орбитальных отходов.

Агентство по перспективным оборонным исследованиям Пентагона (DARPA) запустило программу «Феникс» (Phoenix), призванную превратить более сотни списанных спутников связи, «болтающихся» на геостационарных орбитах, в источник дорогих и уникальных частей для космической техники [16]. Авторы этого проекта предлагают некоторые узлы давно выключенных спутников использовать в новых изделиях. Разделка и утилизация отработавших аппаратов прямо в околоземном пространстве могла бы сэкономить миллионные затраты.

Высокая цена спутников связи обусловлена как стоимостью деталей, так и большими затратами на запуск аппаратов в ОКП. Между тем в списанных, выработавших ресурс сателлитах находится немало узлов, которые могли бы ещё поработать. Ныне на орбитах в виде «мёртвого» хлама крутятся в виде отходов сотни миллионов долларов. Нерационально оставлять такое богатство без дела и заново производить те же самые узлы на Земле, а потом ещё тратиться на их подъём в ОКП и в Космос.

Один из важнейших таких узлов — антенна. Она не только дорога в изготовлении, но и объёмна и немало весит, что влияет на размеры и массу ракеты-носителя и спутника, а следовательно, и на стоимость его запуска. Именно антенны призван утилизировать проект «Феникс» в первую очередь. Сердцем комплекса должен стать автоматический аппарат, условно названный tender (плавучая база). Он должен быть оснащён роботизированными руками с набором инструментов, необходимых для разделки орбитальных отходов в виде вышедших из строя спутников и орбитальных космических станций.

Сложность осуществления этого проекта состоит в неподготовленности космонавтов и техники для реализации этого амбициозного замысла. Спутники и другие летательные космические аппараты не разрабатывались в расчёте на разборку, так что орбитальному сервисмену недостаточно будет уметь откручивать гайки — ему придётся немало сверлить и резать.

В процессе демонтажа орбитальных отходов проект предусматривает наличие целого флота помощников — миниатюрных спутников PODS (payload orbital delivery system, «орбитальная система доставки нагрузки»). Эти миниатюрные аппараты должны храниться на борту «тендера», пока не понадобятся для захвата очередной антенны [16, 17].

Развитие проекта использования орбитальных отходов предполагает создание орбитальной антенной сети на базе отработавших спутников космической орбитальной «свалки».

Отмечается [18], что запуск спутников является крайне дорогостоящим и рискованным делом — полезная нагрузка по цене 20 тыс долл, за 1 кг может погибнуть при выводе его на орбиту или в результате аппаратурной неисправности. Специалисты DARPA разработали уникальную систему Phoenix, которая способна превратить мёртвые спутники общей стоимостью 300 млрд долл, в полезные массивы антенн.

Система Phoenix состоит из спутника-носителя и множества небольших микроспутников, названных Satlet. Микроспутники могут доставляться на орбиту обычными коммерческими спутниками, после достижения геостационарной орбиты спутник-носитель сможет «подрулить» к «кладбищу» космических аппаратов. После выбора на «кладбище» конкретного орбитального отхода начнётся этап отделения наиболее дорогостоящих его частей для их повторного использования. Таким образом мыслится космический хлам превращать в ценные орбитальные объекты. На завершающем этапе демонтажа орбитальных отходов к антенне прикрепятся микроспутники Satlet, которые возьмут на себя роль системы управления новой антенной. Подобные утилизированные и модифицированные антенны и космические аппараты можно собрать в антенные массивы и использовать для ретрансляции сигнала, разведки и научных наблюдений.

Бесполезные мёртвые спутники с помощью новой системы DARPA могут быть трансформированы в околоземную орбитальную антенную сеть

В DARPA основные сложности видят в демонтаже антенн спутников. Их не так просто отделить, поэтому необходимо разработать новые технологии дистанционного управления, захвата изображений и специальные робототизированные инструменты для удержания, разрезания, перемещения и монтажа антенн.

Первое испытание технологии намечается на 2015 год. Основное ограничение для работы орбитального утилизатора орбитальных отходов заключается в том, что любое оборудование в ОКП и в Космосе из соображений национальной безопасности является собственностью страны, которая его изготовила, а потому возвращать к жизни все подряд спутники не удастся. Это будет противоречить существующим нормам законов о космической деятельности, но законы могут быть изменены или разработаны новые, и тогда для утилизаторов орбитальных отходов открываются захватывающие перспективы…

Следует заметить, что прежде чем этот проект станет реальностью, исследователи должны разработать новые технологии робототехники и систем удалённой визуализации, создать механизмы захвата и отсоединения деталей спутников и ещё многое другое.

Учёные из канадского университета Квинс разрабатывают автоматическую систему ремонта и обслуживания спутников прямо на орбите. Этот проект поможет избежать лавинообразного роста орбитальных отходов и орбитального и мусора, которые начинают всё сильнее мешать нормальной работе в околоземном космическом пространстве. В основном это сломавшиеся и ставшие неуправляемые спутники и последние ступени ракет-носителей.

Группа инженеров для решения этой проблемы разработала специальную следящую систему, которая позволит автономному космическому ремонтному роботу (Autonomous Space Servicing Vehicle — ASSV) "поймать" сломавшийся спутник и отбуксировать его на борт ремонтной базы [19]. Процесс ремонта будет управляться с наземных станций.

Одной из главных трудностей является проблема поиска неисправного спутника. Для этого будет использоваться

специальное программное обеспечение и световой радар, который позволяет точно определить местонахождение спутника, его тип и отслеживать перемещения объекта.

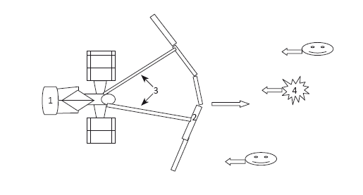
В виде развития идеи использования в ОКП отходов ракетно-космической техники можно предложить создание на борту орбитальной ремонтной базы защитного выносного экрана. Такой экран мыслится собирать из плоских и достаточно массивных элементов РКТ типа солнечных батарей. Если разместить такой экран перед защищаемым объектом, то он способен обеспечить его безопасность при столкновении с космическим или орбитальным мусором. Вся кинетическая энергия высокоскоростного обломка или мусорной частицы будет израсходована при соударении с экраном, а защищаемый объект останется невредим. Устройство такого защитного экрана иллюстрируется рисунком 3.1.

Рис. 3.1. Схема защиты космического аппарата от орбитальных экскретов выносным экраном, собранном из орбитальных отходов: 1– КА; 2– защитный выносной экран; 3– стойки экрана; 4 — космический и орбитальный мусор

В настоящее время вокруг Земли вращаются более 600 тыс. объектов диаметром более 1 см. По данным Европейского космического агентства (ЕКА) 41 % этих объектов составляют различные обломки, потерянные инструменты и другие мелкие детали, 22 % — это отработавшие свой срок космические аппараты, 13 % от их общего числа составляют материальные «следы» различных экспериментов и научных проектов, 7 % — части ракет-носителей [20]. В то же время на функционирующие космические аппараты приходится только 7 % огромного количества летательных аппаратов ракетно-космической техники, связанных с освоением космоса человечеством. Получается, что 93 % объектов, вращающихся вокруг Земли, — это бесполезный и опасный мусор, разбросанный по различным орбитам. Причём каждый пятый орбитальный объект может квалифицироваться как орбитальный отход, то есть может представлять собой материальный и финансовый интерес.

Количество орбитальных отходов увеличивается не только с выработкой срока функционирования космических летательных аппаратов, но и из-за аварий на орбитах. Установлено множество случаев столкновения космических аппаратов с орбитальным мусором [20]. Так, частица мусора 1 см в диаметре пробила антенну телескопа "Хаббл" и вывела его из строя. Российскому спутнику "Экспресс АМН" также не повезло, — в 2006 году удар микроскопической частицы мусора повредил систему

терморегулирования, в результате чего спутник вышел из строя и на некоторое время оставил Дальний Восток без телевещания. Эти примеры и ещё множество других происшествий на орбитах говорят о уязвимости современной аэрокосмической инфраструктуры и необходимости создания службы её ремонта и наладки непосредственно на орбитах.

Современные люди слишком зависимы от GPS, мобильной связи и интернета. Космический или орбитальный мусор может спровоцировать катастрофу, угрожающую здоровью и жизни людей. Насколько она вероятна можно оценить, взглянув на некоторые цифры [20]. На высотах между 788 км и 1000 км летает около 1100 спутников и 370 тысяч частиц орбитального мусора, каждая из которых способна при столкновении вывести спутник из строя. Вероятность столкновения с достаточно крупным объектом на такой высоте составляет от 15 до 30 % на протяжении 150 лет. Пока аварийная статистика радует — спутники погибают от мусора в среднем раз в десять лет. Однако это стоит огромных финансовых затрат, которые включают бронезащиту аппаратов и постоянный мониторинг космического пространства. К сожалению, количество мусора и повреждаемых им летательных объектов растёт (в среднем на 5 % в год), и статистические данные неизбежно начнут ухудшаться.

Кроме опасности столкновений орбитальных аппаратов, ставших отходами, с функционирующей техникой есть и другая опасность некоторых орбитальных отходов — это их радиоактивность. По приблизительным оценкам сегодня на орбитах находятся более 60 космических аппаратов с радиоактивными материалами на борту, часть из которых потеряла работоспособность, то есть стала опасным экскретом. Их следовало бы демонтировать или хотя бы удалять на космическую свалку за пределы геостационарной орбиты, но это делается далеко не всегда — часто из соображений секретности или из-за отсутствия финансирования.

Опасные объекты годами «болтаются» в ОКИ, пока не создадут аварийную ситуацию. Например, в 1978 году советский шпионский спутник Космос-954 после аварийного схода с орбиты осыпал радиоактивными обломками северную часть Канады. России пришлось дорого расплачиваться с канадцами за потенциальный ущерб. С тех пор на Землю упали 9 потерявших работоспособность объектов с ядерными материалами [20].

Опасные летательные аппараты из ОКИ следует по возможности быстро демонтировать или убирать за его пределы. Идея космической изоляции РАО возникла давно [21]. Ещё в 1959 г. этот способ предлагал в нашей стране академик И. Л. Капица, а в 1972 г. в США — Д. Шлесинджер.

На Европейской конференции по ядерной энергетике в 1975 г. в Париже обсуждалось несколько общих концепций окончательного захоронения или удаления высокоактивных и альфа-излучающих радиоактивных отходов (РАО). На первое место в возможном перечне мер была поставлена концепция удаления РАО в Космос. Всё же подчеркивалось, что в нашем столетии они в основном будут захораниваться на Земле.

Уже через несколько лет НАСА и Министерство энергетики США стали разрабатывать способы удаления РАО в Космос с использованием многоразовой космической системы Спейс Шаттл. В нашей стране подобный способ начали разрабатывать в 1987 г. в ЦНИИ машиностроения.

Эти вопросы активно обсуждались на конференции [22], в которой участвовали учёные и специалисты по космической технике, ядерной энергетике России и ряда зарубежных стран. На конференции обсуждались доклады, посвященные разным аспектам космической изоляции РАО, но основной упор был сделан на технические вопросы вывода РАО в Космос.

При решении этой проблемы было решено руководствоваться следующими постулатами:

— биосфера не может ассимилировать все РАО, производимые человечеством;

— наша планета ограничена;

— Космос безграничен и его невозможно замусорить конечным количеством РАО;

— Космос агрессивен для живой материи;

— Земля ограждена от космоса атмосферой, так что из нашего «дома» мы можем выкинуть всё, что хранить в нём невозможно.

На конференции обсуждалось несколько вариантов космического удаления РАО:

— удаление на Юпитер,

— вывод за пределы Солнечной системы,

— удаление на Солнце (в том числе полеты с гравитационным маневром около Юпитера).

Заметим, что все эти варианты из-за неприемлемых в настоящее время энергетических затрат, которые требуются для разгона до необходимой скорости, возможно, будут применены лишь в отдалённой перспективе. А сейчас самый реальный вариант — это удаление РАО на гелиоцентрическую орбиту (на расстояние от Земли в 1,2 а. е., между орбитами Земли и Марса). Для этого предполагается создать сборочно-эксплуатационный центр на околоземной орбите. В этом центре орбитальные отходы будут демонтироваться и подготавливаться к транспортировке. Возможные варианты избавления от радиоактивных орбитальных отходов приводятся на схемах рисунка 3.2.

Большое внимание на конференции привлекли вопросы надёжности и безопасности удаления РАО в Космос. Выступающие доказывали, что современное развитие космической техники обеспечивает приемлемый уровень риска — в основном за счёт высокой надежности капсулы и контейнера с РАО. Выступавшие согласились, что космическая изоляция РАО — это не альтернативный способ, а дополняющий захоронение в геологических формациях. Удалять необходимо лишь самые опасные и долгоживущие изотопы (с периодом полураспада в тысячи и миллионы лет): нептуний, америций, кюрий, цирконий, технеций и иод. Эти изотопы составляют меньше 1 % от всей массы высокоактивных РАО, полученных в результате деятельности атомных электростанций.

Конференция постановила, что космическую изоляцию РАО необходимо проводить в международных рамках. Россия даёт около 10 % всех полученных в мире долгоживущих и особо опасных РАО, поэтому и финансирование проекта должно быть пропорциональным. Понятно, что одно государство не в состоянии финансировать весь комплекс мероприятий по удалению РАО в Космос. И наконец, космодром для проведения таких работ целесообразнее размещать не на территории России, а как можно ближе к экватору (в связи с энергетическими выгодами вывода на орбиту), например, на островах Гильберта, в Австралии или на плавучей платформе в приэкваториальных водах.

Напомним, что космическая изоляция РАО в России в настоящее время запрещена. Пунктом 3 статьи 50 Закона РСФСР «Об охране окружающей природной среды» от 19 декабря 1991 г. прямо запрещена отправка радиоактивных отходов и материалов в космическое пространство в целях захоронения. Только международный договор может устранить это законодательное препятствие, потому что, согласно ст. 93 упомянутого Закона РСФСР, при несовпадении положений законодательства Российской Федерации и международного договора применяются положения международного договора.

Однако, думая о ближайшей перспективе удаления радиоактивных отходов в ОКП и в Космос, нельзя не предвидеть, что со временем они могут стать реальной угрозой для космонавтов и космических аппаратов. Необходимо выяснить, какие могут быть последствия от контакта РАО с находящейся в околоземном пространстве плазмой, а также проанализировать, останутся ли удалённые в Космос РАО локализованными или они будут распространяться дальше. Есть и другие вопросы: не слишком ли опасен процесс вывода РАО с поверхности Земли и не окажут ли отходы вредное воздействие на околоземное пространство, планеты и Солнце. Наконец, в состоянии ли потоки солнечного ветра вынести на периферию Солнечной системы распыленные РАО.

В заключение подчеркнём, что идея удаления РАО в космическое пространство вне всяких сомнений имеет право на жизнь. Но её реализация возможна только на международном уровне и требует прежде всего решения правовых проблем.

Специалисты призывают хотя бы не мусорить больше. А отправляемые в Космос аппараты снабжать особыми двигателями-терминаторами, которые бы переводили отработавшие спутники на низкие орбиты, чтобы они там сгорали.

Интересно довольно необычное, если не сказать фантастическое, возможное использование орбитальных экскретов в военных целях. Орбитальные отходы, пока теоретически, но вскоре и на практике, могут быть превращены в оружие. Причём оружие — «абсолютное», против которого на современном этапе развития технологий нет средств противодействия [23]. Анализ траекторий космических объектов при их входе в плотные слои атмосферы показал, что с теоретической точки зрения, любую из траекторий спуска можно изменить, направив при этом обломки в нужном направлении. Для учёных и исследователей это возможность очистить орбиту от орбитального и космического мусора, мешающего запуску новых летательных объектов и угрожающего функционированию старых.

Военные же увидели в этой возможности оружейный потенциал. Орбиту любого из отработанных обломков или спутников (лучше с РАО) можно изменить, например, использовав небольшой ракетный двигатель, и направить их можно куда угодно. Таким образом после небольшой доработки орбитальные экскреты могут стать орбитальной бомбой, находящейся в постоянной боевой готовности.

В случае войны такое оружие позволило бы ликвидировать любые наземные объекты. Ведь обломки или другой орбитальный хлам, используемый в качестве оружия, при входе в атмосферу двигаются с такой скоростью и с таким малым временем подлёта, что их невозможно сбить средствами ПВО.

Отметим, что на сегодняшний день не существует технологий, позволяющих по сигналу с Земли изменять траектории объектов орбитальных отходов, направляя их в нужное место. Однако, специалисты Космического агентства NASA заявляют, что до их появления остаётся пара тройка лет [33].

При этом следует иметь в виду, что спутники с РАО, выведенные за пределы геостационарных орбит, а также сниженные до атмосферного слоя Земли (ниже 200 км) из отходов переходят в экскретную категорию мусора со всеми вытекающими из этого факта последствиями.

Более 800 000 книг и аудиокниг! 📚

Получи 2 месяца Литрес Подписки в подарок и наслаждайся неограниченным чтением

ПОЛУЧИТЬ ПОДАРОК