4.7. Изучение способности животных к экстренному определению алгоритма изменений положения скрытой приманки. Тест Ревеша-Крушинского

Этот тест был предложен Дж. Ревешем (Revecz, 1925) для сравнительной оценки рассудочной деятельности обезьян и детей, а позднее и независимо от него использовался Л. В. Крушинским, О. О. Якименко и Н. П. Поповой (1983) для изучения онтогенеза невербального мышления человека. Предполагалось, что его можно рассматривать как аналог задачи на экстраполяцию, более подходящий для опытов на человеке.

Опыт ставится следующим образом. Перед животным располагают ряд одинаковых непрозрачных кормушек, накрытых крышками (испытуемым демонстрируют ряд стаканов). В первый раз приманку вне поля зрения животного помещают в первую кормушку и предоставляют возможность ее отыскать. Во второй раз (также незаметно) приманку помещают во вторую кормушку, затем в третью и т. д. После того как приманка обнаружена в первой (1-е предъявление), а затем во второй (2-е предъявление) кормушках, животное уже имеет необходимую и достаточную информацию, чтобы понять, где будет спрятана приманка при следующем предъявлении теста. Иными словами, этой информации достаточно, чтобы определить закономерность дальнейшего перемещения приманки: она каждый раз будет находиться в новом месте, ближайшем к предыдущему (рис. 4.18).

На рисунке 4 18Б видно, что галка (график слева) находила приманку безошибочно в предъявлениях с 8-го по 11-е, а в 7-м ошиблась только на один «шаг», у павиана-анубиса (в середине) безошибочные выборы были в 5-м и 6-м. а также в 9-м и 10-м предъявлениях теста, серая крыса (справа) не сделала ни одною безошибочного выбора.

Рис. 4.18. Тест Ревеша — Крушинского.

А — обстановка эксперимента на врановых птицах в лаборатории Л В Крушинского, Б — результаты решения теста галкой (слева), павианом-анубисом (в середине) и серой крысой (справа); по вертикали отложены предъявления теста, по горизонтали — номера кормушек; положение приманки обозначено квадратом, неправильные реакции животного отмечены ромбами, соединенными линией, правильное (без предварительных ошибок) решение обозначено одиночным квадратом: В — гистограмма распределения первых выборов кормушек (см текст).

Напомним, что ранее рассмотренные тесты на экстраполяцию и ОЭРФ основаны на предположении, что у животных имеются представления о физических законах окружающего мира. Каждый такой тест имеет единственное решение. В то же время в данном тесте закономерность перемещения приманки задается экспериментатором произвольно (т. е. можно перемещать приманку справа налево или наоборот, а также менять «шаг» ее перемещения). Эта задача не имеет прямых аналогов в репертуаре поведения животных в естественных условиях.

Многочисленные исследования показали, что у человека способность к решению этого теста — три безошибочных выбора подряд — проходит длительный путь формирования в онтогенезе и лишь к 15 годам достигает уровня, характерного для взрослых. Разные испытуемые используют при решении теста разные стратегии поиска: случайный, стереотипный, программный (т. е. поиск в соответствии с определенной гипотезой). С возрастом снижается доля испытуемых, использующих стереотипный поиск (т. е. открывание всех стаканов подряд), и растет доля тех, кто пользуется собственной программой поиска.

Интересно отметить, что способность использовать собственную программу поиска появляется у детей между 6-м и 7-м годами жизни. В этот же период заметно снижается частота применения стратегии стереотипного поиска.

Решение теста Ревеша — Крушинского исследовали у врановых птиц, голубей, крыс ряда линий, низших узконосых обезьян разных видов, а также нескольких человекообразных обезьян. Оказалось, что лишь в отдельных и весьма немногочисленных случаях животные и птицы были способны «идеально» определить закономерность перемещения приманки и находили ее безошибочно в нескольких предъявлениях задачи подряд (см. рис. 4.18Б). Тем не менее, за исключением голубей, у животных всех исследованных видов выбор кормушек по ходу предъявления теста был достоверно неслучайным. Число попыток, которое они делали для отыскания приманки, было существенно меньше, чем это должно быть при случайном «блуждании».

Определенные стратегии поиска (случайный, стереотипный или «программный») были обнаружены и при анализе решения теста животными разных видов. При этом оказалось, что у всех одни и те же стратегии встречаются в сходных пропорциях. Например, склонность к стереотипии — открыванию подряд всех кормушек — свойственна в равной степени всем изученным видам, а оптимизация поведения — снижение числа попыток, совершаемых при отыскании корма, — составляет около 30 % как у человекообразных обезьян, так и у крыс.

* Анализ ошибок, совершаемых в процессе решения теста, свидетельствует, что животные всех видов ищут приманку главным образом там, где они ее находили в предыдущих пробах. При этом они крайне редко открывают новые кормушки, хотя условия задачи («приманка каждый раз в новом месте, соседнем с предыдущим») требуют именно этого.

Среди исследованных видов животных ни у одного из них не обнаруживается достоверного улавливания логической структуры задачи — основного правила перемещения приманки.

В подавляющем большинстве случаев все животные ищут приманку не там, где она должна появиться, а в месте ее недавнего обнаружения (Плескачева и др., 1995; 1998). Гистограмма распределения ошибочных первых выборов кормушек по отношению к той, в которой была спрятана приманка в данном предъявлении, приведенная на рис. 4.18В, иллюстрирует этот факт. На гистограмме знаком «+» отмечены ошибки «опережения», когда животное ищет корм там, где его до сих пор еще не было, т. е. впереди от истинного положения приманки, знаком «—» отмечены случаи, когда животное начинает поиск с кормушек, где оно обнаруживало приманку в предыдущих случаях. Реакций последней категории оказалось достоверно больше.

Предполагалось, что решение данного теста будет доступно животным с наиболее высоким уровнем рассудочной деятельности. Однако полученные результаты не подтвердили этого предположения. Даже человекообразные обезьяны решали задачу не в соответствии с ее принципом, а на основе гораздо более простой стратегии, которую используют и крысы.

* Хотя животные практически не улавливают закономерность перемещения приманки, они все же применяют более примитивную, но универсальную стратегию. Она позволяет им в новой ситуации и на основе результатов всего лишь нескольких обнаружений приманки существенно оптимизировать дальнейший поиск.

4.8. Изучение способности к экстренной интеграции ранее образованных независимых навыков.

Этот вид рассудочной деятельности животных стал объектом исследования еще в конце 20-х — начале 30-х годов (Maier, 1929). Его можно обнаружить, если предложить животному такую задачу, которую оно может решить в новой ситуации на основе ранее приобретенного опыта. Однако речь идет не о выборе и применении одной из «готовых», т. е. ранее выработанных реакций, а за счет создания, как это было сформулировано Н. Майером (Maier, 1929), нового решения на основе специфических элементов прошлых представлений или ранее образованных навыков (см. также 2.8).

Помимо опытов самого Майера, хорошей иллюстрацией такого подхода могут служить эксперименты американского исследователя Р. Эпштейна (Epstein, 1984; 1987; см. ниже). Несколько таких тестов было разработано и в лаборатории Л. В. Крушинского в 70-е годы XX века (см. ниже).

Рис. 4.19. Одна из установок, предложенных Н. Майером для тестирования способности крыс к рассудочной деятельности (Maier, 1929).

4.8.1. Способность к «рассуждению» у крыс

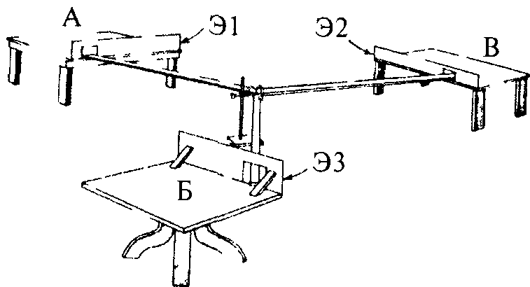
Существует несколько тестов, решение которых требует экстренной интеграции ранее образованных навыков. На рис. 4.19 показана схема классического опыта Майера для оценки зачатков мышления (reasoning) у крыс. В подобных экспериментах можно обнаружить способность животного к реорганизации имеющегося опыта.

Использованная в этих опытах установка состоит из трех дорожек (длиной 244 см каждая), расходящихся из одной центральной точки. Каждая дорожка заканчивается столиком, отличающимся от остальных по размеру, форме и типу. На столиках установлены деревянные экраны (Э1, Э2, ЭЗ) таким образом, чтобы с одного столика нельзя было видеть, что делается на остальных. После того как крыса обследовала все столики и дорожки, ей давали пищу, например на столике А. Затем крысу помещали на один из двух других столиков, например В, и отпускали. Достигнув центра установки, крыса могла выбрать один из двух путей — на столик А (где ее раньше кормили) или на столик Б. Перед каждым тестом животному давали возможность осмотреть установку. Всякий раз крысу кормили на другом столике. При случайном выборе доля правильных решений равна 50 %, однако у некоторых крыс она была гораздо выше. Это позволило автору сделать следующий вывод.

Крысы способны в каждом новом предъявлении комбинировать (интегрировать) имеющуюся у них информацию и делать правильный выбор.

4.8.2. Задача для голубей на «доставание банана»

Американский исследователь Р. Эпштейн (Epstein, 1984; 1987) в ряде работ пытался опровергнуть уже прочно утвердившееся в 80-е гг. XX в. представление о наличии у животных элементарного мышления. В соответствии со взглядами бихевиористов (см. 2.4.3) он задался целью показать, что любое самое сложное поведение высших позвоночных, которое принято считать проявлением разума, есть не что иное, как результат переноса ранее сформированных навыков или другая форма применения ранее приобретенного опыта. Для начала Эпштейн попытался воспроизвести на голубях описанные выше опыты В. Келера, где шимпанзе доставали с помощью палок или придвиганием ящиков видимую, но недосягаемую для рук приманку.

С этой целью у голубя в камере Скиннера сначала вырабатывали обычный инструментальный УР методом «последовательных приближений» (см. 3.2.3). Голубю давали немного зерна каждый раз, как только он клевал рычаг-манипулятор. Затем рычаг помещали очень высоко — под потолком камеры, так что птица не могла его достать (взлететь в камере голубь не мог). Однако в углу камеры находилась подставка, придвинув которую, можно было легко достать и клюнуть манипулятор (именно так в опытах В. Келера в угол вольеры ставили ящик, с которого шимпанзе мог достать висящий под потоком банан). В течение нескольких часов наблюдений ни один из 11 подопытных голубей по собственной воле не только не пытался передвинуть подставку, но даже не прикоснулся к ней.

Иными словами, поведение голубей коренным образом отличалось от активности, которую обычно развивают для доставания подвешенного банана человекообразные обезьяны (см. 4.5).

Убедившись в том, что голуби сами не догадываются, что нужно делать, у них начали вырабатывать два УР, причем один независимо от другого. В одних сеансах голубей учили подталкивать подставку к зеленому пятну-мишени на полу камеры, т. е. подкрепляли пищей такие движения, причем пятно располагали каждый раз на новом участке пола Во время этого обучения первый манипулятор из камеры удаляли. В других сеансах (их проводили параллельно и независимо от первых) голубей обучали забираться на подставку и клевать манипулятор. Важно отметить, что во время этих сеансов отсутствовало пятно-мишень на полу камеры. Если же голуби все же принимались передвигать подставку, то подкрепления за эти движения они не получали.

После того как голуби прочно усвоили каждый из УР, с ними снова провели тот же тест, что и в начале, когда подставка находилась в стороне от манипулятора, а пятно-мишень на полу отсутствовало. В этом случае задачу решили 4 голубя из 11. Поглядывая то на манипулятор, то на подставку, они начали постепенно передвигать ее на нужное место. Достигнув цели, голуби взбирались на подставку, клевали манипулятор и получали подкрепление. Напомним, что для формирования каждого из УР птицам требовались многие сотни сочетаний.

Контрольных голубей обучали либо только забираться на подставку и клевать манипулятор, либо только передвигать подставку Оказалось, что они успешно решают тест только во втором случае По-видимому, им важно научиться подталкивать подставку, а уж взобраться на нее они могут и без специального обучения.

Авторы рассматривали поведение голубей как результат взаимодействия независимо образованных условных реакций на зрительные стимулы. Они считали, что во время теста у них происходит «функциональная генерализация» навыков, в отличие от генерализации, основанной на сходстве физических признаков стимулов (см. 3.1).

Эпштейн предположил, что это поведение аналогично поведению обезьян и собак при решении подобных задач и что такие процессы у животных разных видов сходны, однако специалисты по высшим когнитивным функциям животных с этим категорически не согласились. Сходство между поведением антропоидов («инсайт» в опытах Келера) и голубей в ситуации «доставания банана» они считали чисто внешним, поверхностным и грубым.

Эксперименты Эпштейна показали, что голуби способны к |У реорганизации ранее полученных независимых навыков.

Отметим, что невысокий в целом уровень развития рассудочной деятельности этих птиц сильно ограничивает возможности их использования в опытах такого типа. Методика (задача на «доставание банана») может быть использована для сравнительного изучения рассудочной деятельности у тех видов животных, для которых другие тесты на элементарное мышление оказываются слишком сложными.

4.8.3. Тест на экстренное сопоставление стимулов, ранее связанных с разным числом единиц подкрепления: выбор по признаку «больше, чем»

Следующий тест, построенный по тому же принципу, что и описанные выше, был разработан 3. А. Зориной (Зорина и др., 1991) в процессе изучения способности птиц к оценке и оперированию количественными параметрами стимулов. Как известно, животные в процессе обучения усваивают информацию о количестве подкрепления, несмотря на то, что это не предусматривается специальной процедурой. Об этом свидетельствует тот факт, что увеличение размера подкрепления дает возможность ускорить процесс обучения в лабиринте (Рябинская, Ашихмина, 1988). И наоборот, при резком сокращении порции корма нарушаются ранее сформированные навыки. Известно также, что самые разные животные при свободном выборе предпочитают стимулы, которые больше других и по абсолютной величине, и по числу составляющих их элементов.

Предлагаемый тест требует экстренного сопоставления величин подкрепления, связанного с разными стимулами, в новой для птицы ситуации.

Опыт ставится следующим образом. В процессе предварительной тренировки у птиц вырабатывают серию независимых одиночных пищедобывательных УР (сбрасывание крышки с кормушки). В этот период птицы усваивают информацию о том, что кормушкам разного цвета соответствует определенное число единиц подкрепления: от 1 до 8 зерен пшеницы — для голубей и от 5 до 12 личинок мучного хрущака — для ворон. По окончании предварительного обучения проводят собственно тесты, во время которых кормушки предъявляют парами в разных комбинациях (20–25 проб). Чтобы сделать ситуацию максимально новой для птиц, в каждой пробе применяют новую комбинацию кормушек, повторяя каждую не более 3 раз за тест. (Для снижения возможного влияния подкрепления на последующие результаты в половине проб приманку помещают в обе кормушки, а остальные пробы идут без подкрепления.)

При проведении собственно теста проверяют, будут ли птицы выбирать кормушку, ранее связанную с большим количеством подкрепления, и в каких пределах они будут осуществлять такой выбор.

Поведение при решении этого теста, с точки зрения авторов, соответствует определению Майера, так как основано на экстренном сопоставлении независимо приобретенных элементов прошлого опыта — информации о количестве, подкрепления, связанного с каждой из кормушек разного цвета. В процессе решения птица должна сопоставить эту информацию и осуществить новую реакцию — выбор большего подкрепления.

Птицы обоих видов во всем диапазоне исследованных множеств (от 1 до 8 зерен или личинок мучного хрущака) в среднем чаще выбирают стимул, связанный с большим количеством подкрепления. Следует подчеркнуть, что у голубей вероятность правильного выбора тем выше, чем больше абсолютная и относительная разница между сравниваемыми количествами пищи, т. е. когда множества единиц подкрепления имеют резко выраженные различия. У ворон величина различий между сравниваемыми количествами пищи влияла на правильность выбора не столь резко.

Таким образом, оказалось, что эту элементарную логическую задачу решают и голуби. Подобно «задаче на доставание банана» она оказалась одной из очень немногих, им доступных.

Полученные с помощью этой методики данные не только выявили способность к решению еще одной элементарной логической задачи, но позволили сравнить ее у птиц двух разных видов, т. е. охарактеризовать рассудочную деятельность птиц в сравнительном аспекте.

Вместе с тем эти результаты внесли определенный вклад в характеристику способности птиц к оперированию количественными параметрами среды (которое условно иногда называют «счетом»).

Оказалось, что выбор, который делает птица в новой ситуации (когда ей дают пару стимулов, ранее всегда предъявлявшихся поодиночке), определяется мысленным сравнением числа единиц подкрепления, соответствующего каждому из стимулов. Несмотря на то что по условиям опыта экспериментаторы не направляли внимания птиц специально на этот параметр (число единиц подкрепления), они спонтанно оценивали его и запоминали. На этой основе в новой ситуации, без всякой подготовки птицы делают выбор по признаку «больше, чем».

Способность птиц к выполнению такой операции послужила основой для изучения у них процесса символизации, методика и результаты которого рассмотрены в гл. 5 и 6.

Резюме

Рассмотренные методы и экспериментальные приемы исследования элементарной рассудочной деятельности животных дали богатый экспериментальный материал для формирования новых представлений о мышлении животных. В описанных методиках были устранены те ограничения, которые были свойственны методам изучения мышления антропоидов, использованным в начале XX века. Эти методики оказались достаточно универсальными для предъявления животным самых разных видов. Их можно модифицировать так, чтобы предъявлять одному и тому же животному по нескольку раз, сохраняя, тем не менее, определенную степень новизны ситуации. Работы Л. В. Крушинского и его коллег сформировали самостоятельный подход к исследованию мышления животных, основу которого составил ряд важных положений, ранее не использовавшихся в экспериментах такого рода. Универсальный эксперимент, который, в соответствии с представлениями Л. В. Крушинского, характеризует рассудочную деятельность животных данного вида или данной группы, планируется так, чтобы обеспечивать: возможность объективной количественной оценки результатов; применимость к представителям разных систематических групп; получение сравнимых результатов; возможность исследования физиологических и генетических основ рассудочной деятельности.

1. Какие проявления мышления животных можно исследовать в эксперименте?

2. Каким требованиям должны удовлетворять тесты на рассудочную деятельность животных?

3. Что такое орудийная деятельность и какие механизмы могут лежать в ее основе у животных разных видов?

4. Какие стороны рассудочной деятельности выявляют тесты, предложенные Л. В. Крушинским?

Более 800 000 книг и аудиокниг! 📚

Получи 2 месяца Литрес Подписки в подарок и наслаждайся неограниченным чтением

ПОЛУЧИТЬ ПОДАРОК