Как раб привычки стал мировым лидером

Современные данные говорят о том, что протагонистами эукариотического симбиоза были метаноген и метаболически разностороняя ?-протеобактерия вроде Rhodobacter. Водородная гипотеза позволяет примирить взаимоисключающие на первый взгляд экологические требования этих протагонистов, утверждая, что союз был основан на метаболическом пристрастии метаногена к водороду и способности бактерии его удовлетворять. Однако многих ученые считают, что это простое решение поднимает не меньше вопросов, чем дает ответов. Как симбиоз, который мог работать только в анаэробных условиях (или при низком содержании кислорода), привел к столь славному расцвету эукариот, особенно многоклеточных, если почти все они теперь полностью зависят от кислорода? Почему это произошло именно тогда, когда содержание кислорода в атмосфере и Мировом океане росло — или мы должны считать это простым совпадением? Если первый эукариот жил в строго анаэробных условиях, почему он не утратил все свои гены кислородного дыхания путем эволюционного «износа» (то есть за ненадобностью), как это сделали когда-то нынешние анаэробные эукариоты? И если хозяин не был примитивной эукариотической клеткой, способной менять форму и захватывать бактерий целиком, то как ?-протеобактерии вообще попали внутрь?

Водородная гипотеза, в сочетании с последними открытиями, может ответить на все эти трудные вопросы. При этом, что немаловажно, для этого даже не придется привлекать какие-либо эволюционные новшества (возникновение новых признаков). Я много думал об этих идеях и хотя вначале, должен признаться, был настроен крайне скептически, теперь я почти уверен, что подобное действительно имело место. В предложенной Мартином и Мюллером цепочке событий просматривается неумолимая эволюционная логика, но еще важнее то, что она основана на характеристиках окружающей среды — на давлении естественного отбора, связанном с обстоятельствами, которые случайно сложились в то время на Земле. Повторялась бы эта цепочка событий, если бы эволюционный фильм прокручивался много раз, как говорит нам Стивен Джей Гулд? Сомневаюсь. Мне кажется маловероятным, что предложенная Мартином и Мюллером конкретная последовательность событий могла бы повториться в спешке; на самом деле, я сомневаюсь, что она вообще воспроизводима. А если речь идет о другой планете, с другим набором случайных обстоятельств, то сомнения только усиливаются. Вот почему я подозреваю, что возникновение эукариотической клетки было, по сути, случайностью и произошло лишь один раз на нашей Земле. Давайте посмотрим, как это могло случиться. Для ясности я сейчас изложу это в виде «сказки просто так», опуская многочисленные затуманивающие смысл «если бы» (см. также рис. 4).

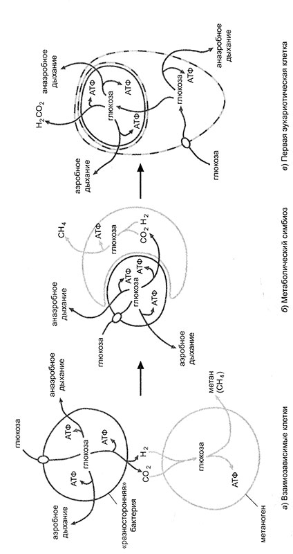
Рис. 4. Водородная гипотеза. Упрощенная схема взаимоотношений между «разносторонней» бактерией и метаногеном. (а) Бактерия способна к разным формам аэробного и анаэробного дыхания, а также к брожению, в процессе которого образуется водород; в анаэробных условиях метаноген использует выделяемые бактерией водород и углекислый газ. (б) Симбиоз становится более тесным: метаноген теперь зависит от производимого бактерией водорода и постепенно захватывает бактерию, (в) Бактерия оказалась внутри метаногена. Перенос генов между бактерией и хозяином позволяет последнему поглощать и ферментировать органическое вещество так, как это раньше делала бактерия. Таким образом, он больше «не обязан» производить метан. Пунктирная линия указывает на то, что эта клетка имеет химерную природу

Жили-были метаноген и ?-протеобактерия. Жили они по соседству, в океанских глубинах, где кислорода было мало. Бактерия была «мусорщиком». Она обеспечивала себя по-разному, но чаще всего производила энергию за счет ферментирования пищи (остатков других бактерий), выделяя водород и углекислый газ. Метаноген с удовольствием использовал эти продукты обмена бактерии, ведь ему хватало их для построения всего необходимого. Такое положение дел так хорошо устраивало обоих партнеров, что они с каждым днем все теснее прижимались друг к другу. Метаноген даже постепенно менял форму тела (что было возможно благодаря цитоскелету), чтобы крепче обнять своего благодетеля. Такое изменение формы клетки показано на рис. 3.

С течением времени бедная ?-протеобактерия стала задыхаться в столь крепких объятиях — у нее оставалось совсем мало поверхности для поглощения пищи. Так недолго и умереть от голода… но к этому времени она была так тесно связана с метаногеном, что не могла просто хлопнуть дверью и уйти. Однако она могла бы целиком и полностью переместиться внутрь метаногена, а тот мог бы начать есть за двоих. Такое положение дел снова устроило бы обоих партнеров. И ?-протеобактерия переехала на постоянное место жительства внутрь клетки метаногена.

Перед тем как продолжить сказку, давайте отметим, что примеры того, как одни бактерии живут внутри других, действительно есть, и они вовсе не обязательно попадали внутрь за счет фагоцитоза. Самый известный пример — Bdellovibrio, страшная бактерия-хищник. Она стремительно движется, покрывая за секунду расстояние, в 100 раз превышающее ее собственную длину, до тех пор, пока не столкнется с другой бактерий. Непосредственно перед столкновением она начинает быстро вращаться и пронзает (просверливает?) клеточную стенку жертвы. Оказавшись в клетке, она разрушает ее структуры и размножается, завершая жизненный цикл за 1–3 часа. Как часто нехищные бактерии попадают внутрь других бактерий или архей — спорный вопрос, но основной постулат водородной гипотезы — для проникновения в другую клетку фагоцитоз не обязателен — вовсе не кажется необоснованным. Интересное подтверждение было найдено в 2001 г.: выяснилось, что мучнистые червецы — мелкие, беловатые насекомые, похожие на комочки ваты, которые живут на многих комнатных растениях, — иногда содержат ?-протеобактерии в качестве внутриклеточных эндосимбионтов. Внутри этих эндосимбиотических бактерий живут еще более мелкие ?-протеобактерии. Так, одна бактерия живет в другой бактерии, которая живет внутри клетки насекомого, — и все довольны. Невольно вспоминается старый стишок: «под микроскопом он открыл, что на блохе живет блоху кусающая блошка; на блошке той блошинка-крошка, в блошинку же вонзает зуб сердито блошиночка, и так ad infinitum»[26].

Однако вернемся к нашей сказочке. Итак, ?-протеобактерия оказалось внутри метаногена; пока все понятно. Но возникает еще одна проблема. Метаноген не привык поглощать пищу, раньше он сам «готовил» ее из водорода и углекислого газа. Получается, что он все-таки не мог прокормить нового жильца. К счастью, на помощь пришел сам жилец — ?-протеобактерия. У нее были гены, нужные для поглощения пищи; она просто могла бы передать их метаногену, и все было бы в порядке. Метаноген тогда мог бы захватывать пищу из внешней среды, а ?-протеобактерия могла бы по-прежнему снабжать его водородом и углекислым газом. Тем не менее так просто этот вопрос не решается. Метаноген теперь поглощал пищу и конвертировал ее в глюкозу в интересах ?-протеобактерии. Проблема в том, что метаногены обычно используют глюкозу для построения сложных органических молекул, а ?-протеобактерии расщепляют ее для получения энергии. Сложилась ситуация, похожая на перетягивание каната: вместо того, чтобы передавать глюкозу жадной бактерии, живущей внутри метаногена (а она, не будем забывать, должна была метаноген кормить), метаноген, не подумав, направлял ее на строительные проекты. А вот далее обоим партнерам грозила голодная смерть. Бактерия могла решить проблемы, передав метаногену гены, которые позволили бы ему расщеплять некоторое количество глюкозы до веществ, весьма полезных ?-протеобактерии. Так она и сделала — передала метаногену необходимые для этого гены.

Как, спросите вы, неразумные бактерии смогли передать метаногену все гены, необходимые для того, чтобы такие отношения работали? Подобные вопросы осложняют любые рассуждения о естественном отборе, но ответить на них, и в частности на наш вопрос, довольно просто — нужно подумать о проблеме с популяционной точки зрения. В данном случае мы имеем дело с популяцией клеток, одни из которых процветают, другие погибают, а третьи кое-как влачат свое существование. Давайте представим себе популяцию метаногенов, все члены которой живут в близком соседстве с многочисленными мелкими ?-протеобактериями. В некоторых случаях взаимоотношения относительно «дистантны», то есть ?-протеобактерии физически не захвачены метаногенами. И все вроде бы неплохо, но довольно много водорода теряется впустую или достается другим метаногенам. Подобные «свободные» отношения могут оказаться менее выгодны, чем тесные связи, когда ?-протеобактерии находятся внутри метаногенов — тогда теряется меньше водорода. Конечно, каждый конкретный метаноген, скорее всего, содержит несколько ?-протеобактерий, и некоторые из них связаны с ним более тесно, чем другие. Таким образом, в то время как в целом ассоциация функционирует вполне успешно, несколько конкретных ?-протеобактерий могут страдать от слишком тесной связи. Что, если они задохнутся? При условии, что другие готовы занять их место, гибель нескольких конкретных бактерий может вообще не сказаться на благополучии симбиотического союза, однако гены погибших ?-протеобактерий окажутся в окружающей среде. Некоторые из них может «подобрать» метаноген за счет обычного горизонтального переноса генов, и некоторые из них будут включены в его хромосому. Предположим, что этот процесс происходит одновременно у миллионов, возможно, миллиардов метаногенов, вовлеченных в симбиотические отношения с ?-протеобактериями. По закону больших чисел, по крайней мере некоторые метаногены получат все необходимые гены (они так и так сгруппированы в одну функциональную единицу — оперон). Если так, то метаноген сможет поглощать органические соединения из окружающей среды. За счет того же процесса метаноген может получить гены, ответственные за брожение; на самом деле, ничто не мешает одновременному переносу этих двух наборов генов. Все сводится к законам динамики популяций: если получивший эти гены метаноген более успешен, чем его сородичи, то естественный отбор вскоре многократно приумножит плоды успешного союза.

Однако у этой сказки неожиданный конец. Получив два набора генов за счет горизонтального переноса, метаноген теперь мог всё. Он мог поглощать пищу из окружающей среды и извлекать из нее энергию за счет брожения. Словно гадкий утенок, ставший лебедем, он больше не обязан был быть метаногеном. Он мог бродить, где вздумается, не боясь кислорода, который прежде блокировал его единственный источник энергии — производство метана. Более того, в аэробных условиях прочно окопавшиеся внутри метаногена ?-протеобактерии могли использовать кислород для гораздо более эффективного производства энергии, так что они тоже выиграли. Все, что оставалось хозяину (язык не поворачивается называть его метаногеном) — это врезать в мембрану ?-протеобактерии кран (АТФ-насос), чтобы выкачивать АТФ. Тогда весь мир лег бы к его ногам. И действительно, АТФ-насосы — чисто эукариотическое изобретение, и, если верить анализам последовательностей соответствующих генов у разных групп эукариот, они появились в самом начале их эволюционной истории.

Итак, ответ на коренной вопрос бытия — а если конкретнее, на вопрос о происхождении эукариотической клетки — очень прост, и гласит он: «перенос генов». Водородная гипотеза объясняет, как за счет последовательности небольших и вполне реальных шагов химическая зависимость между двумя клетками постепенно привела к появлению клетки-химеры, обладавшей органеллами с функциями митохондрий. Такая клетка может импортировать органические молекулы, например сахара, через наружную мембрану и ферментировать их в цитоплазме, подобно тому как это делают дрожжи. Она способна передавать продукты брожения митохондриям, которые могут окислять их с использованием кислорода или, если уж на то пошло, других молекул, например нитратов. Ядра у этой клетки-химеры пока нет. Может быть, она утратила клеточную стенку, а может быть, и нет. Цитоскелет у нее есть, но, скорее всего, клетка еще не научилась менять за счет него форму тела, как это делает амеба; цитоскелет просто играет опорную функцию. Короче говоря, мы имеем дело с безъядерным прообразом эукариотической клетки. Каким путем он мог эволюционировать, чтобы превратиться в полностью сформированную эукариотическую клетку, мы увидим в третьей части книги, а пока, чтобы закончить эту главу, давайте посмотрим, какое место в водородной гипотезе занимает игра случая.

Более 800 000 книг и аудиокниг! 📚

Получи 2 месяца Литрес Подписки в подарок и наслаждайся неограниченным чтением

ПОЛУЧИТЬ ПОДАРОК